
Technologue.id, Jakarta - Samsung dikabarkan segera memperkenalkan inovasi terbarunya dalam dunia ponsel lipat dengan merilis perangkat lipat tiga pertamanya tahun ini.
Meski belum ada tanggal peluncuran resmi, rumor menyebutkan bahwa ponsel yang kemungkinan besar akan dinamai Galaxy Z TriFold ini akan diumumkan menjelang akhir Oktober 2025.
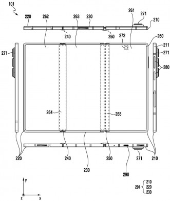
Sambil menunggu pengumuman resmi, dokumen paten yang diterbitkan oleh Korean Intellectual Property Rights Information Service (KIPRIS) telah mengungkap sejumlah detail menarik mengenai desain internal perangkat ini.
Baca Juga:
Samsung Luncurkan Sensor Gambar 200MP ISOCELL HP5

Salah satu sorotan utama adalah penggunaan tiga sel baterai di dalam Galaxy Z TriFold, sesuai dengan desain perangkat yang memiliki tiga segmen lipatan.
Berdasarkan sketsa dalam dokumen paten tersebut, berikut adalah pembagian penempatan ketiga sel baterai:
T1 (baterai terkecil), terletak di segmen yang juga menampung tiga kamera belakang. Lalu T3 (baterai sedang) ditempatkan di segmen dengan layar penutup. Sedangkan T2 (baterai terbesar) berada di bagian tengah perangkat, yaitu segmen yang akan diapit saat ponsel dilipat.
Meski tidak ada informasi terkait kapasitas masing-masing baterai atau total kapasitasnya, banyak pihak berharap Samsung akan meningkatkan performa baterai secara signifikan dibandingkan dengan Galaxy Z Fold7, yang sebelumnya dikritik karena hanya membawa baterai 4.400 mAh dan dukungan pengisian daya kabel 25W, dinilai tertinggal jauh dibandingkan kompetitornya di pasar.
Awalnya, Galaxy Z TriFold dirumorkan hanya akan tersedia di Korea Selatan dan Tiongkok. Namun, laporan terbaru menyebut bahwa perangkat ini juga kemungkinan akan dipasarkan di Amerika Serikat, memperluas jangkauan global produk lipat terbaru Samsung.
Baca Juga:
Bocoran One UI 8.5: 4 Fitur Baru yang Bakal Ubah Cara Pakai Samsung
Sumber dalam industri menyebutkan bahwa peluncuran Galaxy Z TriFold berpotensi dilakukan pada akhir Oktober 2025, bersamaan dengan produk inovatif lainnya dari Samsung.
Selain Galaxy Z TriFold, Samsung juga tengah bersiap meluncurkan headset Android XR (Extended Reality) pertamanya dengan nama kode Project Moohan. Perangkat ini dijadwalkan akan meluncur pada 22 Oktober 2025, dengan pra-registrasi di Korea Selatan yang berlangsung mulai 15 hingga 21 Oktober.
Project Moohan diposisikan sebagai jawaban Samsung terhadap dominasi Meta dan Apple di pasar headset XR, menandai langkah besar perusahaan dalam memperluas ekosistem perangkat futuristik mereka.